-6%






47 829 ₴
44 959,26 ₴
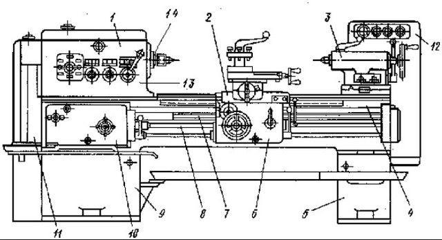
Токарний верстат SM 300-E переважно призначений для роботи з металевими заготовками, проте працює і з деревом, а також пластиком. З ним не складе складності нарізати метричну різьбу, розточити і просвердлити отвори. Якщо виникла необхідність обробити довгі заготовки, то можна встановити люнет (рухомий і нерухомий). А якщо встановити планшайбу, то буде можливе виконання роботи зі зміщенням від центру обертання.
Частота обертання і швидкість поздовжньої подачі знаходяться в широкому діапазоні, що робить агрегат ефективним у використанні.

Відео огляд аналогів токарного верстата PROMA SM 300-E
Де використовується токарний верстат PROMA SM 300-E
Модель компактна, проте досить потужна. Прекрасно підійде для власників малого виробництва.

Може виконувати такі функції:

Пристрій досить компактний і не вимагає від оператора наявності спеціальних навичок і знань. Це дозволяє широко використовувати його повсюдно.

На товар оформляється гарантійний талон, який йде в комплекті з устаткуванням. Якщо у вас залишилися якісь питання щодо верстата і його характеристик, на них дадуть відповідь наші консультанти.

У комплект до агрегату йде піддон, в який буде збиратися металева стружка. Також є поворотний супорт для того, щоб виточувати невеликі заготовки конічної форми. Верстат підійде для власників невеликого виробництва з помірним рівнем виробничої навантаження.

У цій моделі верстата – ремінна передача. Саме це значно знижує рівень шуму під час роботи, а також запобігає перевантаження двигуна. Така неприємність, як мимовільний запуск після того, як електрика з якої-небудь причини було вимкнено, повністю виключений – верстат оснащений магнітним пускачем.

Також в комплект до агрегату йде ряд питань. За рахунок цього можна нарізати різьбу з різним розміром кроку. Для зручності оператора верстат оснащений спеціальною таблицею, з якої можна настроїти для точного нарізування різьби. Мається спеціальний індикатор цього процесу.

| Основні | |
|---|---|
| Виробник | Proma |
| Країна виробник | Чехія |
| Споживана потужність | 0.3 кВт |
| Діаметр посадкового отвору | 20 мм |
| Відстань між центрами | 250 мм |
| Діаметр обточування над супортом | 110 мм |
| Стан | Новий |
| Параметри мережі | |
| Напруга | 220 В |
| Додаткові параметри | |
| Конус задньої бабки | МК-2 |
| Користувальницькі характеристики | |
| Тип | токарно-гвинторізний |
| Потужність | 300 |
| Конус шпинделя | МК-3 |
| Призначення | по металу |
| Ступінь автоматизації | автоматичне управління |
| Система подачі СОЖ | немає |
| Max діаметр обробки над станиною | 180 мм |
| Поперечний хід супорта | 65 мм |
| Max розмір державки різця | 8 мм |